和肺通气的分布不均相仿,在正常生理条件下,肺内血流的分布并非均匀一致,血流分布受到地心引力,肺血管内的压力和肺血管外的压力等因素的影响。
图3-9以简单模型说明血管内外压力对血流的影响。模型中央为一根有弹性可压缩的细管,用以代表毛细血管。它周围有一定压力影响,即相当肺泡压(Palv)。灌注压(Ppa)相当于肺动脉压必需超过所有的下游的压力,才会有血流灌注此毛细血管。假若Palv显着升高,毛细血管被压扁,在灌注压不变时,由于血流阻力升高,血流量必然下降。假若静脉端压力PV低于Palv时,对血流将不起影响,此时血流量就由灌注压Pa决定。跨壁压,即血管腔内与腔外压力差(Palv-Pc),起反向压力(back pressure)的作用,会干扰血流量。此时血流量取决于Ppa(肺动脉压)和PV间的差。

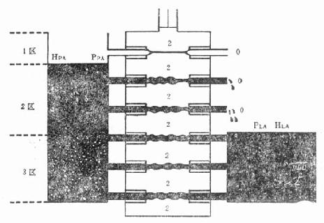
图3-9 解释肺毛细血管周围压力的模型
人直立时,自肺尖至肺底有一定距离,成人约为30cm,肺血流分布可以想像为上述模型的扩展,由一系列平行可压缩毛细血管组成,均处于相同的肺泡压Palv作用之下,Palv约为0.0196kPa(2cmH2O),地心引力对肺动脉和肺血流分布的影响可由图3-10解释。肺动脉压PPA由流入贮池代表,经常充满至较肺最低部位的动脉高23cm处高度。流出贮池中液体的高度保持较肺最低部位静脉高11cm水平。当流出压力超过11cm时(相当左房压,以PLA表示)方有血液溢流。据此模型,流经每条毛细血管血流量就由灌注压决定,也就是由血管的高度决定。于模型的最上部,相当肺尖部,一般称为1区,Palv为0.0196kPa(2cmH2O)已超过Ppa血管被压,无血流通过。在肺的2区,即模型的中央部,Ppa>Palv>PLA。此区有血流经过,而每条血管中血流量由流入压和肺泡压差(Ppa-Palv)决定,因此血管的高度影响血流量,在此区中靠上方的血流量小于下方者。模型的最下部(3区),每条血管Ppa均超过Palv,但流出压PLA>Palv,所以此区血流量由Ppa-PLA决定,肺动脉与肺静脉在不同高度所增加的压力均相等,每条血管中血流量均相仿。不像2区受引力影响。

图3-10 肺内血流灌注分布不均的模式图
实际情况较模型复杂,除毛细血管,流入及流出血管均受跨壁压影响。在1区,右心收缩时,一般仍有血流通过。在3区,血流仍受高度(静水压)影响。毛细血管的扩张性,局部跨壁压也就是毛细血管阻力也要影响血流。这样,肺内血流分布是不均匀的,肺尖较肺底部量少。卧位时,下方较上方血流量大。这些通过核素显象已经测得肺尖部血流量约为0.6L/min,肺底部约为3.4L/min,相差达6倍之多。